- Главная
- Каталог
- Крепеж
- Фланцы, заглушки, втулки
- Заглушки
- Поворотная заглушка Т ММ 25 01 06
Поворотная заглушка Т ММ 25 01 06
-
Технические характеристики
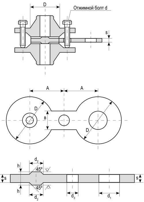
Заглушка поворотная Т ММ 25 01 06 состоит из соединенных между собой двух элементов — заглушки и рукоятки приваренной сваркой.
Заглушка (обтюратор) удобный вид запорной арматуры. Они используются для герметичного перекрытия участка трубопровода на период проведения ремонтных, реконструкционных, опресовочных, сервисных или других работ.
Заглушки поворотные Т ММ используются при температуре -70à+ 650°С.
Для изготовления заглушек подбирают марку стали способную хорошо переносить длительную эксплуатацию в определенных условиях.
Стальные заглушки в зависимости от допустимого давления выпускаются в трех вариантах:
- Плоские поворотные — для фланцев с поверхностью уплотнительной №1 по стандарту 12815-80. Рассчитаны на давление 6-25 кгс/см2
- Впадина-Выступ — для фланцев с поверхностью №2 и №3. Рассчитаны на давление 6-100 кгс/см2 для фланцев
- Паз-Шип — для фланцев с поверхностью №4 и №5. Рассчитаны на давление 6-100 кгс/см2 для фланцев
В промышленности поворотные заглушки используют перекрытия для газовых, нефтяных, энергетических, наполненных химически агрессивными средами трубопроводов и трубопроводов сетей ЖКХ.
Преимущества
Поворотные заглушки просты в изготовлении, не имеют трущихся и подвижных деталей, поэтому не повреждаются при длительной эксплуатации. Гарантируют надежное перекрытие участка трубопровода. Себестоимость заглушек намного меньше себестоимости задвижек, запорных клапанов, шаровых кранов и т.д. с аналогичными характеристиками (Py и Dy).
Недостатки
Перекрытие трубопровода поворотной заглушкой занимает много времени. Возможность частичного перекрытия трубопроводного отверстия не предусмотрена.
Отсечение потока осуществляется извлечением или установкой поворотных заглушек с рукояткой.
СПбЗКи предлагает услуги по изготовлению поворотных заглушек Т ММ 25 01 06 в Санкт-Петербурге крупным и мелким оптом под заказ. Доступные цены, гарантия качества.
Заглушка поворотная Т ММ 25 01 06 состоит из соединенных между собой двух элементов — заглушки и рукоятки приваренной сваркой.
Заглушка (обтюратор) удобный вид запорной арматуры. Они используются для герметичного перекрытия участка трубопровода на период проведения ремонтных, реконструкционных, опресовочных, сервисных или других работ.
Заглушки поворотные Т ММ используются при температуре -70à+ 650°С.
Для изготовления заглушек подбирают марку стали способную хорошо переносить длительную эксплуатацию в определенных условиях.
Стальные заглушки в зависимости от допустимого давления выпускаются в трех вариантах:
- Плоские поворотные — для фланцев с поверхностью уплотнительной №1 по стандарту 12815-80. Рассчитаны на давление 6-25 кгс/см2
- Впадина-Выступ — для фланцев с поверхностью №2 и №3. Рассчитаны на давление 6-100 кгс/см2 для фланцев
- Паз-Шип — для фланцев с поверхностью №4 и №5. Рассчитаны на давление 6-100 кгс/см2 для фланцев
В промышленности поворотные заглушки используют перекрытия для газовых, нефтяных, энергетических, наполненных химически агрессивными средами трубопроводов и трубопроводов сетей ЖКХ.
Преимущества
Поворотные заглушки просты в изготовлении, не имеют трущихся и подвижных деталей, поэтому не повреждаются при длительной эксплуатации. Гарантируют надежное перекрытие участка трубопровода. Себестоимость заглушек намного меньше себестоимости задвижек, запорных клапанов, шаровых кранов и т.д. с аналогичными характеристиками (Py и Dy).
Недостатки
Перекрытие трубопровода поворотной заглушкой занимает много времени. Возможность частичного перекрытия трубопроводного отверстия не предусмотрена.
Отсечение потока осуществляется извлечением или установкой поворотных заглушек с рукояткой.
СПбЗКи предлагает услуги по изготовлению поворотных заглушек Т ММ 25 01 06 в Санкт-Петербурге крупным и мелким оптом под заказ. Доступные цены, гарантия качества.




