Изготовление фундаментных болтов на заказ по чертежам
- Используем любые материалы и выполняем заказы любой сложности
- Полный цикл производства: от создания чертежей до доставки готовых изделий
- Доступные заказы: минимальная сумма заказа — 20 000 рублей, отгрузка от 2 дней

Фундаментные болты, которые можно заказать сейчас
Болт фундаментный ГОСТ 24379.1-80
ПодробнееКрепежная арматура анкерного типа, отличающаяся особой прочностью, способна выдерживать большие статические и динамические нагрузки. Конструкция болта включает шпильку, на одном конце которой располагаются элементы для фиксации со строительным основанием, а на другом — резьба.
Разновидности фундаментных болтов
Существует несколько типов фундаментных болтов, различающихся особенностями конструкции:
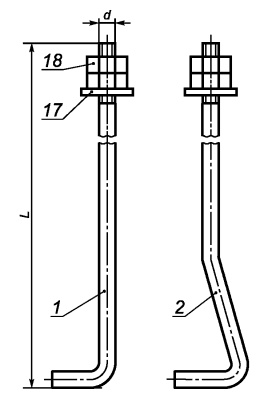
- Изогнутые фундаментные болты. Имеют геометрию «Г»-образной формы или изгибы на некоторых участках. На одном конце изделия располагаются фиксирующие элементы (гайка и шайба), на другом — изогнутая часть. Разновидности с одним изгибом устанавливаются до заливки основания, с несколькими — фиксируются в специально предназначенные отверстия, которые после заливаются бетонной смесью.

- Фундаментные болты с анкерной плитой. Необходимы для прочного соединения конструкций между собой. Плита находится на конце крепёжного элемента и оберегает болт от разрушения во время стягивания. Разновидность с анкерным упором устанавливается до заливки фундамента.

- Составные фундаментные болты. Характеризуются разбирающейся конструкцией, состоящей из нескольких деталей. В нижней области располагаются анкерный упор и муфта, которые крепятся в основание в момент его укладки или после заливки в специально высверленные отверстия. Верхняя часть соединяется с нижней с помощью резьбы, после чего дополнительно приваривается для обеспечения надёжного монтажа конструкции.

- Прямые фундаментные болты. Имеют прямую конструкцию, состоящую из шпильки с нанесённой резьбой и гайки. Установка болта фундаментного осуществляется после застывания заливки, а фиксируется изделие при помощи клея — силиконового или эпоксидного. Разновидность отличается высокой прочностью, однако не подходит для монтажа в конструкции с высокой вибрацией.

- Съёмные фундаментные болты. Изделие состоит из нескольких частей, а именно: анкерной арматуры, устанавливаемой в фундамент в момент заливки, и шпильки, оборудованной шайбой и гайкой, которая монтируется после завершения фундаментных работ.

- Фундаментные болты с концом конической формы. Разновидности характеризуются окончанием конической формы, и выпускаются в нескольких вариациях: с конической втулкой, с расширенным окончанием и с разжимной цангой. Установка подобных моделей осуществляется в специально изготовленные отверстия.

Типы фундаментных болтов
| Тип 1 Болты фундаментные изогнутые |
Тип 2 Болты фундаментные с анкерной плитой |
|||
| Вариант 1 М12-М48 |
Вариант 2 М12-М48 |
Вариант 1 М16-М48 |
Вариант 2 М56-М90 |
Вариант 3 М100-М140 |
|
|
|
|||
| Тип 3 Болты фундаментные составные |
Тип 4 Болты фундаментные съемные |
|||
| Вариант 1 М24-М48 |
Вариант 2 М56-М64 |
Вариант 1 М24-М48 |
Вариант 2 М56-М125 |
Вариант 3 М56-М100 |
|
|
|
|||
| Тип 5 Болт фундаментный прямой |
Тип 6 Болты фундаментные с коническим концом |
|||
| М12-М48 | Вариант 1 М12-М48 |
Вариант 2 М12-М48 |
Вариант 3 М12-М48 |
|
|
|
|
|||
Условные обозначения:
- 1-10 — шпилька;
- 11, 12 — плита анкерная
- 13 — муфта
- 14 — анкерная арматура
- 15 — цанга разжимная
- 16 — втулка коническая
- 17 — шайба
- 18 — гайка по ГОСТ 5915-70
- 19 — гайка по ГОСТ 10605-72
Материал изготовления
Болты производятся из стали различных марок, причём при выборе материала необходимо учитывать назначение крепёжной арматуры, климатических условий и размера диаметра резьбы:
- для монтажа строительных конструкций и специального оборудования — Ст3кп;
- для крепёжных элементов диаметром до 24 мм — Ст3пс и Ст3сп;
- для болтов до 48 мм — Ст20;
- для арматуры до 56 мм — 09Г2С;
- для особых крепежей — 10Г2С1.
Соединительные элементы болтов (гайки и шайбы) могут изготавливаться из марки той же стали, что и само изделие, а могут из стали более высокого класса. Анкерные упоры производятся методом литья или вытачивания из чугуна или стали, устойчивой к образованию коррозии.
Сфера применения фундаментных болтов
Фундаментные болты широко используются в следующих ситуациях:
- при установке конструкций с внушительной массой и тяжёлого оборудования;
- фиксации металлических изделий с бетонным основанием;
- для соединения поворотных конструкций.
Достоинства фундаментных болтов
Крепёжная арматура обладает рядом неоспоримых достоинств:
- выпускается в разных размерах, благодаря чему можно купить фундаментные болты с учётом индивидуальных инженерных особенностей конструкции;
- характеризуются несколькими способами монтажа, позволяющими устанавливать изделие во время заливки фундамента или после его полного застывания;
- обеспечивают эффективное и надёжное соединение монтируемых изделий;
- обладают высокой прочностью, устойчивостью к внешнему воздействию;
- при соблюдении технологии монтажа будут безотказно служить в течение длительного периода.
Перед покупкой фундаментных болтов нужно уделить особое внимание некоторым характеристикам:
- Глубина монтажа соединительной арматуры. Выбирается с учётом требований ГОСТ.
- Состав и марка бетона, из которого изготавливается фундамент.
- Длина и толщина изделия. Характеристики напрямую зависят от марки стали, используемой при изготовлении крепёжной арматуры.
- Конструкция и размер гаек и шайб. Параметры должны соответствовать требованиям ГОСТ 24379.1-80. Не допускается применение элементов неподходящего размера.
- Форма болтов. Зависит от функции, которые должны выполнять приспособления.
Санкт-Петербургский завод крепежных изделий «СПбЗКИ» предлагает купить фундаментные болты по выгодной цене. Ознакомиться с реализуемой продукцией можно с помощью удобного каталога на сайте. А если возникли вопросы, менеджеры компании ответят на них, помогут выбрать наиболее подходящий вариант крепёжной арматуры, оформят заказ. Сотрудничество с нами — гарантия покупки высококачественной продукции по самой выгодной стоимости.






